Nintendo siempre está buscando nuevas formas de jugar. Ya lo ha demostrado con su inminente proyecto, Nintendo Labo, que usará la consola junto a distintos ingenios de cartón y lo ha confirmado con su nueva asociación para desarrollar tecnología de vanguardia. Ahora surge una nueva patente, descubierta por Digital Trends, que habla de una ambiciosa combinación entre pantallas de Nintendo Switch, que podría servir para romper con los métodos tradicionales de la jugabilidad.
Varias pantallas táctiles combinadas unas con otras
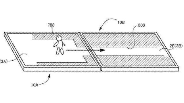
La patente descubre un sistema de juego que permitiría "una conexión plural de varias unidades en combinación con grandes posibilidades y grados de libertad". De esta forma, varios jugadores de Nintendo Switch podrían crear una pantalla multitáctil conectando por proximidad y Bluetooth sus consolas, permitiendo el paso de objetos y datos de una superficie LCD a otra. La patente no habla simplemente de superficies planas, e invita a romper los ejes y orientaciones habituales de los videojuegos.

Según las imágenes con las que se ha registrado esta patente -que data de abril de 2017-, los usuarios podrían construir castillos y figuras distintas, creando una única pantalla, unificada, así como paredes y similares. En función del juego o el programa a utilizar, esta superficie tendría una extensión y una funcionalidad definida. ¿Qué quiere decir esto? Pues que podría usarse desde campo de juego o terreno de batalla para figuras amiibo en una superficie plana o para, por ejemplo, crear construcciones y edificios.
Debido a los giroscopios y acelerómetros, la consola podría incluso traspasar objetos y elementos en tiempo real de una pantalla a otra, como el ejemplo que se muestra en las ilustraciones de una bola, que pasa de una consola a otra, incluyendo posibilidades de orientación en forma de ángulos de inclinación.

Esta opción estaría ya presente en el código de la máquina
Lo más curioso del asunto, según apuntan desde Ars Technica, es que estas opciones podrían hacerse ya con las posibilidades incluidas de serie en Nintendo Switch. Es más, el lenguaje y las referencias a las que se hacen mención, como conexiones Bluetooth 4.1 y similares, ya están presentes en el código del sistema operativo de la máquina. En otras palabras: Switch podría ejecutar muchas de las posibilidades mencionadas en la patente sin necesidad de revisiones de hardware o accesorios externos.



























