Sony ha patentado lo que parece ser un asiento de realidad virtual. Bautizado con el nombre de Sistema de control de postura, ha sido creado por Yoshikazu Onuki, investigador de Sony Interactive Entertainment e investigador del Instituto de Tecnología de Tokio.
En pocas palabras, se trata de un sistema que se ocupa de sujetar al usuario a una silla, mientras éste rota y gira en este módulo en función de las experiencias de realidad virtual y aumentada.
El asiento estaría conectado al usuario mediante el sistema PlayStation VR.
Un asiento para PlayStation VR
De esta forma, el sistema de control de postura ofrece una "unidad de control de postura" que cambia la dirección del cuerpo del usuario y "una unidad de visualización" montada en la cabeza del usuario.

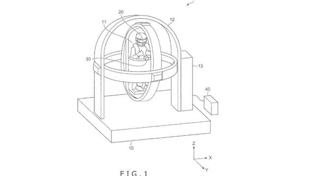
En la imagen, encontramos señalados los siguientes elementos:
10: Unidad de postura de control
11: Asiento
12: Soporte
13: Unidad de manejo
20: Unidad de visualización
30: Cámara
40: Aparato de procesamiento de información
La estructura ofrece un sensor de movimiento que es el encargado de recibir los datos del sistema. Gracias a esta información, el asiento se ocupa de mover al usuario en la dirección oportuna.
Las siguientes imágenes hacen referencia a su esquema de funcionamiento:



La patente fue registrada el pasado mes de octubre. Os recordamos que el registro de una patente no supone que la compañía vaya a trabajar en este producto. Podéis encontrar más información en ResetEra.



























