Además de presentar el remote play para coches en el CES 2026, Sony también ha patentado el sistema Ghost Player, una tecnología basada en IA diseñada para que los juegos de PlayStation puedan "jugarse solos" cuando alguien se atasca en un jefe o resolviendo un puzle.
¿Qué es el Ghost Player de PlayStation?
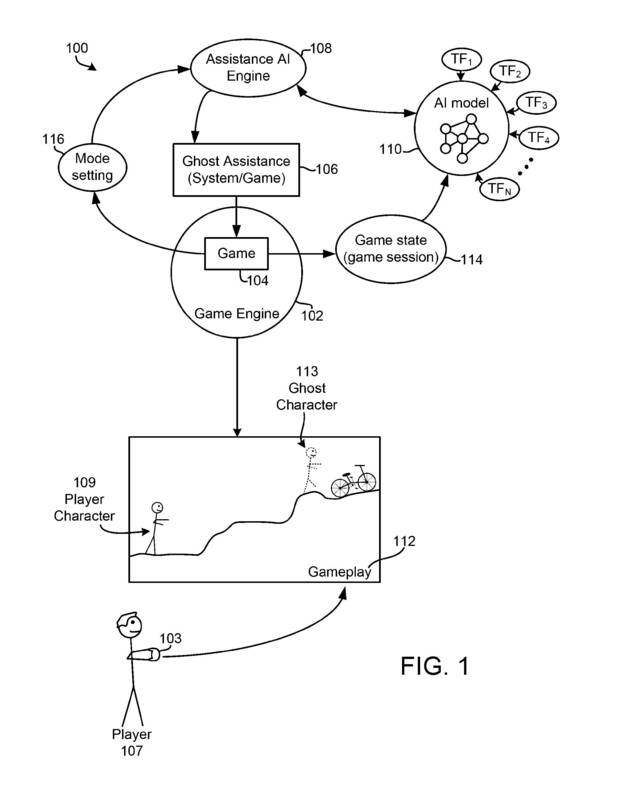
Según la patente (que se presentó en septiembre del 2024 pero que ha vuelto a salir a la luz hoy) existen dos formas de usar el sistema Ghost Player basado en inteligencia artificial en función de nuestras necesidades o de lo que prefiramos:
- El Modo guía: Nos mostrará cómo resolver un puzle utilizando una imagen "fantasma" (similar a la de los coches en las contrarreloj de ciertos juegos de conducción) del protagonista de un juego.
- Modo completo: Toma el control del protagonista y completa el puzle o combate por ti.

El sistema estaría entrenado en base a acciones de jugadores, recopilación de imágenes y otros datos de los que se beneficiaría la comunidad de jugadores de PlayStation.
Esta sería una evolución de las ayudas de los videojuegos. A día de hoy no es extraño escuchar a personajes darnos indicaciones si nos atascamos en un puzle o que nos aparezca una opción para reducir la dificultad si nos atascamos con un jefe.
¿Demasiadas ayudas en los videojuegos?
Esto, desde luego, lo llevaría un paso más allá y es algo que por un lado puede ser útil pero que, por otro, podría generar bastante debate entre la comunidad de jugadores. La clave estaría en poder activarlo o desactivarlo a voluntad para que no interfiera en los jugadores que quieran experimentar un desafío.
Eso sí, tened en cuenta que esto es solo una patente y que puede que nunca salga a la luz pero, lo que está cada vez más claro, es que los asistentes por IA van a formar parte bastante activa del mundo de los videojuegos.



























